PDF문서2021회계연도 법인수익사업회계(자금계산서,대차대조표,운영계산서,부속명세서,합계잔액시산표).pdf

닫기

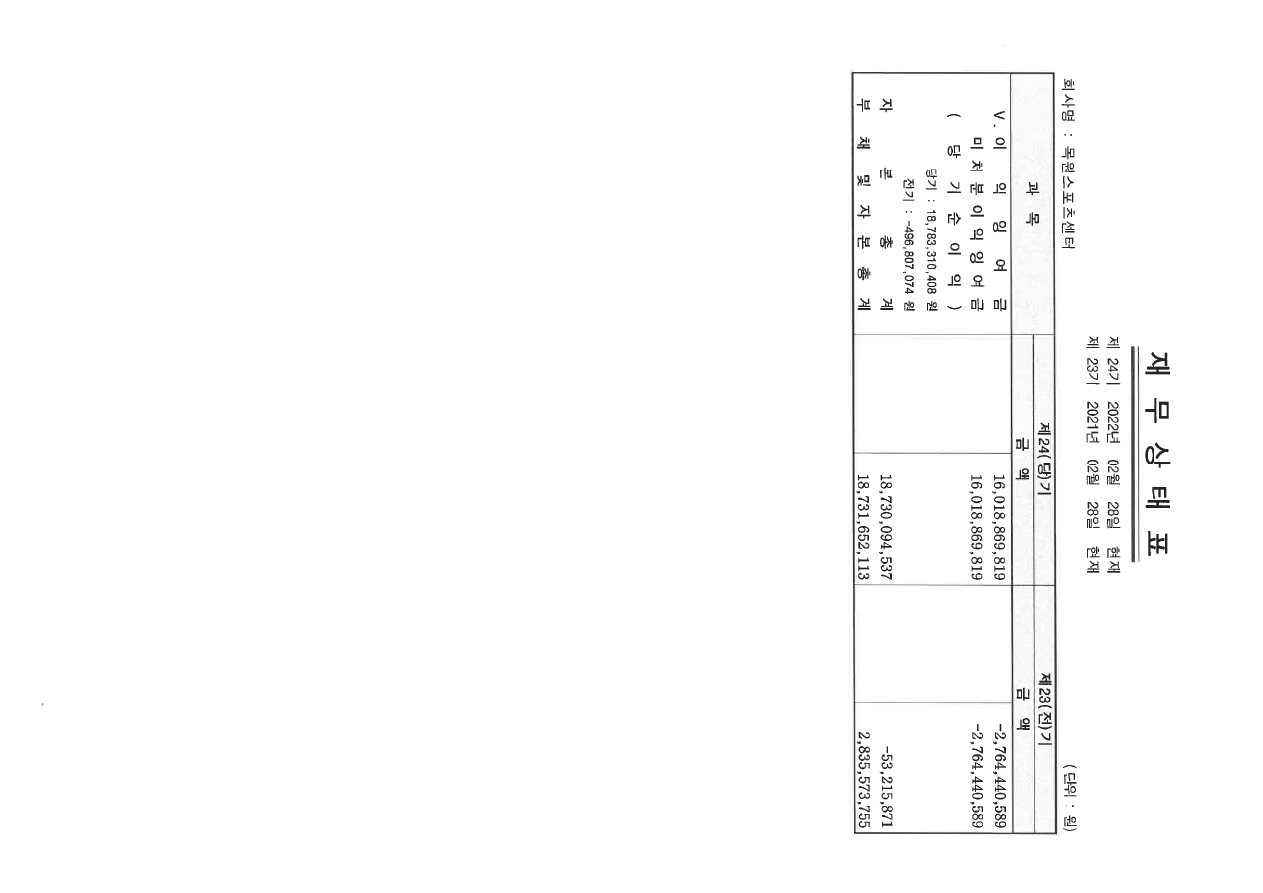
background image

학 교 법 인  감 리 교 학 원 

법인 수익사업회계 결산서

2021학년도


background image

background image

background image

background image

background image

background image

background image

background image

background image

background image

background image

background image

background image

background image

background image

background image

background image

background image

background image

background image